|
English
|
繁體中文
|
简体中文
|
ams AG
Atmosic
Flusso
Gain Semiconductor
IDEMIA
Nordic BLE Module
Opto-Sensor
Panthronics
ScioSense
Vertexcom
產品資訊
ams AG
3D Sensing
Flow Sensing
Spectral Sensing
LIGHT SENSORS
COLOR SENSORS
PROXIMITY
LIGHT-TO-FREQUENCY
COLOR SENSORS & PROXIMITY DETECTION
AMBIENT LIGHT SENSORS
Sensor Interfaces
Color sensor with Proximity Detection
MEMS VOC gas sensor
MEDICAL & HEALTH SENSING
Environmental Sensors
Light to Voltage
Light to Frequency
Linear Sensor Arrays
Precision Time Measurement
Light to Digital
Color Sensors
ALS & Proximity Detection
Proximity Detection
Atmosic
Flusso
Gain Semiconductor
IDEMIA
Nordic BLE Module
Opto-Sensor
Panthronics
ScioSense
Vertexcom
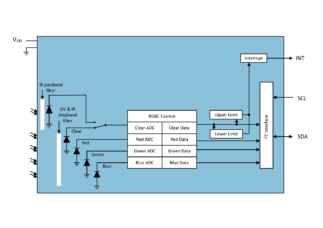
TCS3400
(COLOR SENSORS)
Overview:
Features
RGBC and ALS support
Separate IR channel
1M:1 dynamic range
360⁰ circular RGBC photodiodes
Clear and IR reference channels
Benefits
Integrated single device optical solution
Enables IR light measurement for light-source detection
Enables accurate color sensing and ALS under varying lighting conditions
Enhancing angular response
Isolates color content and enhances color accuracy
Product parameters
Supply Voltage [V]
2.7 - 3.6
I2C Bus
1.8V, Vdd
Interface
Color Sensor Channels
RGBC and IR
IR Blocking Filter
Yes
Programmable
Yes
Temperature Range [°C]
-40 to 70
Packages
6-pin FN
Remark
Copyright © 2011 光電企業股份有限公司